Am sure that some here are familiar with the UK-based Secret Projects website but I just stumbled across the site & see there are a number of interesting submarine threads to be found. Since Mike is a fan of subjects with turrets, I thought this was worth posting.
US Navy Submarine Extendible Turret System (SETS)





http://www.secretprojects.co.uk/foru...ic,8522.0.html
US Navy Submarine Extendible Turret System (SETS)
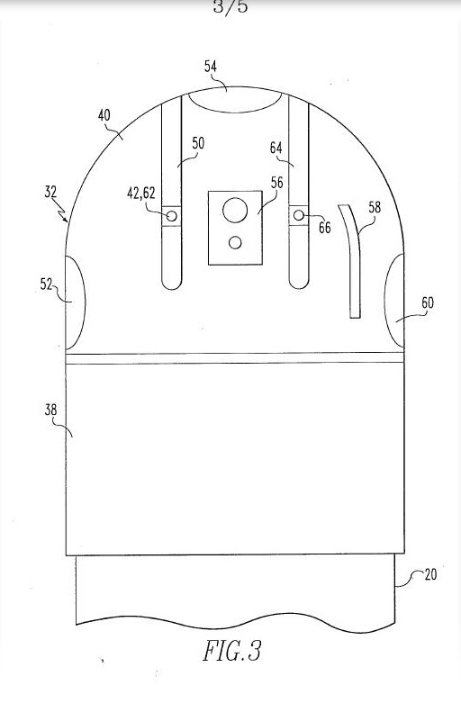
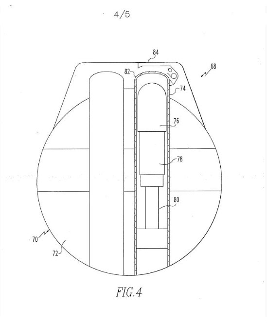
Disclosed is an armored, turret like module configured for axial extension from a stowed position within the hull of a submarine. The turret would mount one or more remote controlled guns, as well as communications devices and sensors to support short range engagement with surface or air contacts. A complete, gun based weapon system concept, including command and combat control elements within the submarine control room, is intended. Other useful applications of this extendible turret system are also disclosed. For example, by such means personnel may also be transferred from within the ship to the outside world, via the turret while submerged.
http://www.secretprojects.co.uk/foru...ic,8522.0.html


Comment